
? HOW型鷹牌 EAGLE CLAMP水平吊鉗(也稱水平鋼板夾鉗)為日本進口產品,擁有5倍以上安全系數,使用壽命可長達7、8年,現由煙臺開發區龍海起重工具有限公司銷售。
![]()
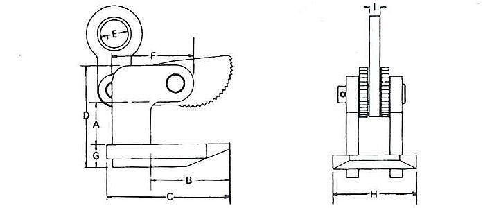
HOW型鷹牌 EAGLE CLAMP水平吊鉗介紹:
* HOW型水平吊鉗本體采用高強度合金鋼鍛造而成,硬度高,使用壽命長
* HOW型水平吊鉗采用雙凸輪結構
* HOW型水平吊鉗采用烤漆表面,環氧涂料,不掉漆
![]()
HOW型鷹牌 EAGLE CLAMP水平吊鉗應用:
HOW型水平吊鉗適用于厚板、成捆鋼板吊裝工作,用于鋼結構、建筑工程等場合
注:HOW型水平吊鉗需要以三個以上為一套進行使用

![]()
HOW型水平吊鉗為日本鷹牌eagle clamp原裝進口產品,保質1年,我公司承諾凡是客戶在我公司定購的進口類產品均為原裝正品,絕不存在拆件貨,換件貨,假冒品牌產品,凡客戶從我公司訂購日本鷹牌eagle clamp產品如收到貨物時發現有拆件貨,換件貨,假冒、假貨仿貨均以100倍金額賠償。
產品選型:水平吊鉗?