
遠藤ENDO AT型氣動葫蘆由日本遠藤ENDO工業株式會社生產,該品牌公司成立于1935年,擁有80多年的生產經驗,1997年取得ISO9001質量體系認證,迄今為止以擁有48個海外銷售國家或地區。
?
![]()
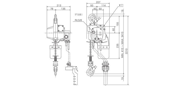
遠藤ENDO AT型氣動葫蘆介紹:
*遠藤ENDO AT型氣動葫蘆工作原理采用空氣做動力源驅動內部機械達到提升重物的效果。
*遠藤ENDO AT型氣動葫蘆為鏈條型,載荷60kg~125kg,載重鏈條可加長
* 遠藤ENDO AT型氣動葫蘆采用表面硬化處理過的合金鋼載重鏈條,具有出色的堅韌性和耐磨性。
* 遠藤ENDO AT型氣動葫蘆按鈕式,通過按鈕來控制速度,操作簡單
* 遠藤ENDO AT型氣動葫蘆采用盤式制動器的制動機制,空氣馬達采用旋轉葉片,7枚葉片的轉子一起旋轉的空氣壓力的系統,7枚葉片都配備在偏置缸安裝在轉子半徑方向滑動;
* 遠藤ENDO AT型氣動葫蘆因不需要電源驅動所以具備了防爆功能,可在高溫、高粉塵、腐蝕性強的作業環境下工作,如石油、化工、汽車、礦山等易燃易爆場合。

![]()
AT型氣動葫蘆為日本遠藤ENDO原裝進口產品,保質1年,我公司承諾凡是客戶在我公司訂購的進口類產品均為原裝正品,絕不存在拆件貨,換件貨,假冒品牌產品,凡客戶從我公司訂購日本遠藤ENDO產品如收到貨物時發現有拆件貨,換件貨,假冒、假貨仿貨均以100倍金額賠償。
產品分類:
產品資料: